• Articole şi ştiri auto
    • Ghidul şoferului
    • Istorie auto
    • Chestionare / Teste grilă
    • Analize auto
    • Test drive
    • Top 10 curiozităţi
    • Filme cu maşini
    • Poze cu maşini
  • Bazar Auto
    • Maşini second
    • Moto
    • Piese și accesorii
  • Comunitate
    • Maşina mea
    • Q&A: 4TuningHelp
    • Forum 4Tuning
 
Utilizator nelogat
  • Login
  • Nu ai cont? Înregistrează-te
  • Ai uitat parola?
  • Articole
  • Mașini second
  • Bazar
  • Forum
  • Maşina mea
  • Q&A
  1. 4Tuning
  2. Poze mașini
  3. Poze Stiri
  4. Caseta de directie
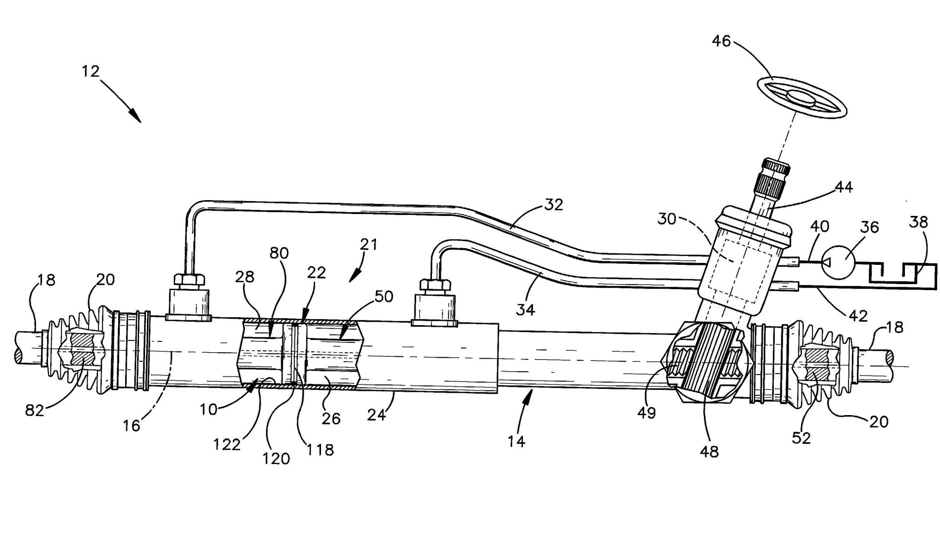
Caseta de directie - Caseta de directie
Poza 4 / 4
Caseta de directie
Trimite unui prieten
De ce sa facem o reconditionare a casetei de directie?
Vezi articolul De ce sa facem o reconditionare a casetei de directie?
Masini confiscate de statul roman, scoase la vanzare pentru preturi de nimic. O Skoda Superb costa doar 1.002 euro
Alte stiri auto 15 Octombrie Masini confiscate de statul roman, scoase la vanzare pentru preturi de nimic. O Skoda Superb costa doar 1.002 euro

Printre multiplele echipamente propuse de respectivul vehicul se numara si farurile cu tehnologie xenon, lista atractiilor principale cuprinzand inclusiv o instalatie de ... citește articolul >

Un cunoscut YouTuber britanic a venit recent in Romania ca sa vada cel mai scump Lamborghini Sian construit vreodata Un cunoscut YouTuber britanic a venit recent in Romania ca sa vada cel mai scump Lamborghini Sian construit vreodata Codul Rutier se schimba iar: apare conceptul de viteza medie Codul Rutier se schimba iar: apare conceptul de viteza medie Politia a iesit pe strazi ca sa vada cat de zgomotoase sunt masinile romanilor. Ce a descoperit Politia a iesit pe strazi ca sa vada cat de zgomotoase sunt masinile romanilor. Ce a descoperit Adio, aglomeratie in trafic! S-a deschis, in sfarsit, unul dintre cele mai asteptate drumuri din Romania Adio, aglomeratie in trafic! S-a deschis, in sfarsit, unul dintre cele mai asteptate drumuri din Romania Restrictii de circulatie pe cel mai important drum national din Romania. Anuntul facut de autoritati cu putin timp in urma Restrictii de circulatie pe cel mai important drum national din Romania. Anuntul facut de autoritati cu putin timp in urma Bucurestiul se pregateste sa interzica circulatia acestor vehicule intre orele 07:00–10:00 si 16:00-19:00. Noua lege prevede amenzi de 3.000-5.000 lei Bucurestiul se pregateste sa interzica circulatia acestor vehicule intre orele 07:00–10:00 si 16:00-19:00. Noua lege prevede amenzi de 3.000-5.000 lei Toata lumea se inghesuie sa o cumpere. Vanzarile masinii germane de lux au crescut cu 209% Toata lumea se inghesuie sa o cumpere. Vanzarile masinii germane de lux au crescut cu 209% Toyota a redesenat complet celebra Corolla. Cea mai vanduta masina din istorie e de nerecunoscut Toyota a redesenat complet celebra Corolla. Cea mai vanduta masina din istorie e de nerecunoscut Asta e momentul asteptat de toata lumea. Uite cum arata in realitate noua Dacia Sandero Asta e momentul asteptat de toata lumea. Uite cum arata in realitate noua Dacia Sandero
4Tuning
© 2025 4Tuning.ro
  • Articole
  • Mașini second
  • Bazar
  • Forum
  • Maşina mea
  • Q&A
  • Termeni şi condiţii
  • Politica de confidențialitate
  • Politica de cookie-uri
  • Platformă SOL
  • Contact
Notificări: 8
Newsletter
Versiune:
Desktop
Mobil